首页
关于景策
公司简介
景策文化
投资理念
核心团队
加入我们
财经资讯
行业动态
公司动态
投资者教育
景策观点
景策财富
产品信息公示
产品公告
信息披露
认购流程
净值查询
联系我们
产品信息公示
产品公告
信息披露
认购流程
净值查询
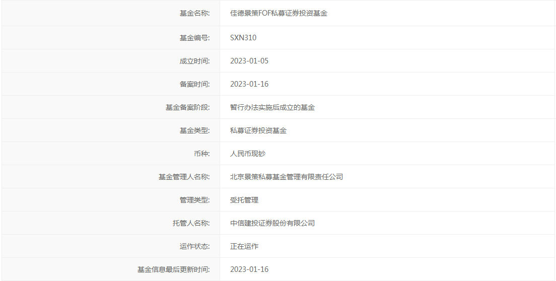
佳德景策FOF私募证券投资基金
发布时间:2023-02-13 15:22:36| 浏览次数: